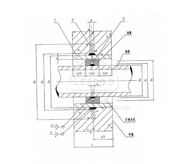
護密閉套管B型是一種主要用于五金管道的建筑預埋管件。防護密閉套管B型主要由:鋼制套管1、翼環(huán)1、擋圈1、組成,適用與穿鋼塑復合管的管道。套管外部焊接一個翼環(huán),套管內部翼環(huán)位置,穿管時焊接擋圈,要求雙面滿焊,套管通過翼環(huán)澆筑在人防墻之中。


防護密閉套管B型適用于一般管道穿墻,管道穿墻處空間有限或管道安裝先于構(建)筑物或管道的更新改造。
用于給排水系統(tǒng)穿墻管穿越防控地下室墻體處,有效的防止泄漏及污染空氣對防控地下室造成的破壞。
咨詢熱線
0371-64030111
同微信
聯(lián)系鑫利
免費獲取 《解決方案以及報價》
在線咨詢
微信咨詢
請您添加右側號碼,微信咨詢鑫利管道