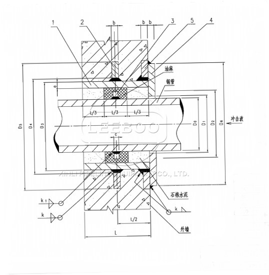
防護密閉套管D型是一種主要用于五金管道的建筑預埋管件。防護密閉套管D型主要由:鋼制套管1、翼環(huán)1、擋圈1、擋版1、固定法蘭1、組成,適用與穿鋼塑復合管的管道。套管外部焊接一個翼環(huán),右側(cè)端口焊接一個固定法蘭片,套管通過翼環(huán)和固定法蘭澆筑在人防墻之中,穿墻管與鋼套管之間在擋圈處充填有油麻,在油麻兩側(cè)充填石棉水泥。固定法蘭端上焊接一個擋板,擋板用于防護沖擊波。


防護密閉套管D型適用于管道穿過墻壁之處受有振動或有嚴密防水要求的構(gòu)筑物
用于給排水系統(tǒng)穿墻管穿越防控地下室墻體處,有效的防止外界沖擊波及污染空氣對防控地下室造成的破壞。
咨詢熱線
0371-64030111
同微信
聯(lián)系鑫利
免費獲取 《解決方案以及報價》
在線咨詢
微信咨詢
請您添加右側(cè)號碼,微信咨詢鑫利管道